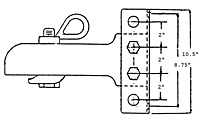
Item Details : Item # M-5821 , Coupler Assy. 1-7/8", 2"